MODEL FI-OPI-UL

Yatay Tip Bladder (UL Listeli)

Bladder Köpük Tankları

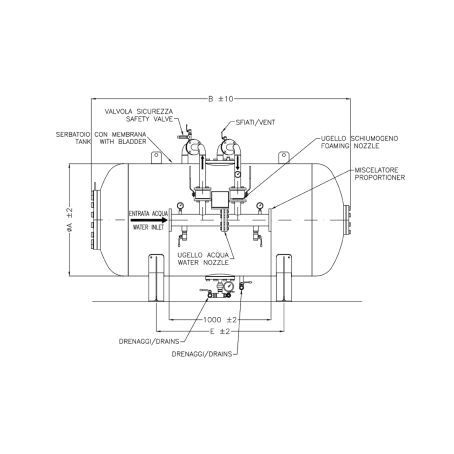
Bladder Tank, aşındırıcı köpük maddelerine karşı dayanıklı sentetik malzemeden yapılmış bir membran içeren ve bir köpük oranlayıcıyla donatılmış büyük bir köpük sıvı konsantresi kabıdır. Bladder Tank, test basıncı 18 bar ve dizayn basıncı 12 bar olan sertifikalı bir üründür. Ayrıca, -10°C ila +50°C arasındaki sıcaklık koşullarında güvenle kullanılabilir. Basit mekanizması ve minimum basınç kaybıyla farklı boyutlardaki köpük keselerini tutabilen bu ürün, köpük oranlama sistemlerinde güvenilir bir çözüm sunar. Köpük konsantresi iç membranda depolandığında, tank iç membranlı olarak kullanılırken, dış membrana temas ediyorsa ve konsantre kabın dışında bulunuyorsa dış membran olarak kullanılır. Bladder Tank, su şebekesinden gelen suyu kullanarak köpük oranlama işlemini gerçekleştirir. Basit bir mekanizma ile çalışan ürün, minimum basınç kaybı sağlayarak farklı boyutlardaki köpük keselerini tutabilir ve genellikle %1-%3-%6 oranlarında kalibre edilebilir. Standart veya geniş aralıklı köpük oranlayıcı modelleriyle uyumlu olan Bladder Tank, köpüklü sprinkler sistemleri için ideal bir çözümdür. Esneklik, dayanıklılık ve kolay kullanımıyla dikkat çeker.

Fierre

Ürün Özellikleri

Onaylar
UL
Test Basıncı
18 Bar
Dizayn Basıncı
12 Bar
Kapasite
50-4000 US Galon (190-15140 Litre)

Not: Görsel oranlayıcı, su&köpük vanaları ve borulama dahil olan “ön-borulu” bladder tanka aittir. (Opsiyonel olarak mevcuttur)

Not: Talebe göre değişik basınç değerleri ile de üretim yapılabilmektedir.

Dökümanlar

İlgili ürünler

Whatsapp Icon
Phone Icon
اتخن امراة فى العالم كله porndot.info دكتور ينيك المريضة
panjab x video pornudetube.mobi soundarya sex
سكس الجامعات nimila.mobi نيك في المدرسة
how heavy are the dumbells you lift hentai younghentai.net hentai monga
indian girl cum in mouth zotporn.net housewife fucked
gana.com hindi glossytube.mobi namsteporn
gaurav gogoi penytube.mobi sex sis bro
bengali blue picture video tubeband.mobi gonzo xxx japanese sex
centaur hentai manga adulthentai.net melancholy princess
andhra porn videos qporn.mobi hot nagma
indian cuckold twitter pornswille.com haryanavi sex video
tamil auntys sex videos analporntrends.com mumbai red street
شرموطه عين شمس arabysexy.org صباح سكس
clip ages.com borwap.pro xxx vidoso
the broken marriage vow may 31 2022 teleseryepinoytv.com ang probinsyano june 17 2022 abs cbn